
在摩尔多瓦酿酒商的共同努力下,尽管新冠疫情造成了一定的负面影响,摩尔多瓦向海外市场出口葡萄酒的总趋势依然是乐观的。

摩尔多瓦近五年上半年葡萄酒出口总额数据
1、总出口量小幅波动
2020年前6个月,摩尔多瓦葡萄酒出口到全世界56个国家和地区,其中罗马尼亚、乌克兰和捷克共和国的需求增加,而俄罗斯联邦和白俄罗斯的需求减少,这种波动与新冠全球大流行局势和实物进出口暂时停止有关。
统计数据显示,今年上半年,摩尔多瓦葡萄酒出口总量为6950万升,比去年同期下降3.4%(即减少了240万升)。
在总出口量中,静止葡萄酒占94%,加强酒占2.6%,蒸馏酒占2.2%,起泡葡萄酒占近1%。
摩尔多瓦向56个国家和地区的出口总额为12.478亿列伊, 比2019年前6个月下降了5.7%(即减少了7470万列伊)。
在出口总收入中,静止葡萄酒占80.2%,蒸馏酒占14.5%,加强酒占3.3%,起泡葡萄酒占近2%。
2、短暂下降后迅速回升
今年前两个月,摩尔多瓦葡萄酒的出口和收入均大幅增长。新冠爆发导致3月至5月出口量明显下降,其中,近年来增长最快的出口市场——中国,是下降最明显的市场之一。
自6月以来,葡萄酒出口趋势有所回升,与2019年6月相比,葡萄酒的出口量增长了0.6%,出口额增长了1.5%。
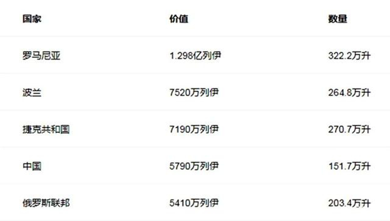
3、瓶装出口量明显增加
统计数据显示,与2019年上半年相比,今年上半年瓶装葡萄酒出口增长了5.7%。主要出口国包括罗马尼亚、波兰和捷克共和国。


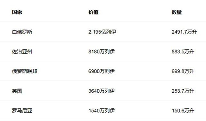
4、散装出口量略有缩减
与此同时,散装葡萄酒的出口量同比下降了6.3%,跌幅最大的市场是俄罗斯联邦和白俄罗斯。


为刺激2020年下半年和2021年初的葡萄酒出口,摩尔多瓦国家葡萄和葡萄酒局正在制定一项计划,以加大力度促进葡萄酒行业在本地和国际市场的发展。
主要目标将集中面向数字媒体,扩大电子商务在所有战略市场上的占有率,以及加大国际市场的交流。

